一、塔的平臺


  塔平臺為從人孔、手孔處檢修設備;緊固法蘭;操作和維修調節閥組及檢修、安裝液面調(diao)節閥、大口徑閥門、檢測儀表、安全閥等附件而設。


  當下列附件需要布置在距地面3600mm以上,或距平臺面1800mm以上時,應考慮設置平臺(從地面至3600mm以下的高度時,可使用移動平臺):控制閥組;重沸器;人孔;安全閥;DN100以上的閥,電動閥;取樣裝置;DN200及以上的盲法蘭(lan)或“8”字盲板;有必要增加法蘭的地方;液位計。


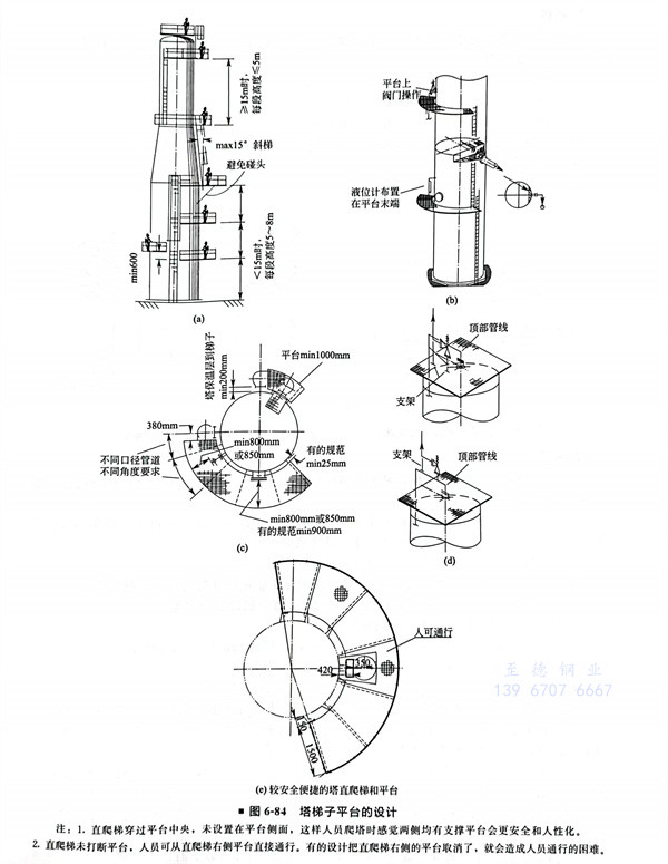
  現有的平(ping)臺(tai)寬度一般為1000~1500mm。人孔用平(ping)臺(tai)最小寬度為1000mm。


  塔頂平臺是為操作吊柱(zhu)、放空閥和維修安全閥設置(zhi)的,可制(zhi)成(cheng)方(fang)形,大小按需要確定。此外,還(huan)應考慮如下事項(xiang)。


   ①. 人孔中心線以距(ju)平臺600~1000mm為(wei)(wei)宜,最(zui)適(shi)宜高度為(wei)(wei)750mm(SH 3011規定平臺距(ju)人孔底部(bu)不宜大(da)于800mm)。


   ②. 有兩個以(yi)上(shang)塔設備并列的情況(kuang)下,建(jian)議統一平(ping)(ping)臺(tai)標高,做聯合平(ping)(ping)臺(tai)。平(ping)(ping)臺(tai)應設防護欄桿(gan)和踢(ti)腳(jiao)板(ban),欄桿(gan)高度以(yi)1.2m為宜;平(ping)(ping)臺(tai)的進出口處應有自動復位欄桿(gan);影響檢修的欄桿(gan)段,應為可拆卸的。


   ③. 聯合(he)平(ping)臺應考慮(lv)各塔、架(jia)之間的(de)(de)(de)熱脹及其(qi)移動因素,留有縫隙,加入適(shi)當的(de)(de)(de)銷子(zi)。塔身用(yong)法蘭(lan)(lan)連接時,應在法蘭(lan)(lan)下側(ce)設置平(ping)臺,平(ping)臺面與法蘭(lan)(lan)的(de)(de)(de)距(ju)離不(bu)宜大于1.5m。


   ④. 通常,平(ping)(ping)臺(tai)的(de)均布荷載為(wei)250~50~400kgf/㎡(2.5~4kPa)為(wei)宜,因維(wei)修或管架原因需(xu)要平(ping)(ping)臺(tai)承擔更大負荷時(shi),須(xu)給設(she)備工程師提(ti)出條件。


  圖6-83~圖6-85所(suo)示為平臺設置(zhi)的照(zhao)片。





二、吊柱


 通常,塔的(de)高度超過(guo)15m以上,及需(xu)滿足以下要求時需(xu)要設置吊柱:有填(tian)料(liao)時;有內(nei)件(jian)及附件(jian)裝(zhuang)卸的(de)情(qing)況。


 吊柱布置應注(zhu)意的(de)事項如下(xia)。


   ①. 吊柱下方(fang)地面(mian)應(ying)留有充分的作(zuo)業空間。


   ②. 應(ying)能達到塔(ta)上(shang)所有檢(jian)修和(he)操作(zuo)平臺的位置(zhi)。


   ③. 在(zai)吊柱回轉覆蓋范圍(wei)內,應有一處能夠避開所(suo)有平臺和管道的(de)豎(shu)直通道。


   ④. 吊柱應布置在檢修(xiu)側(ce)范圍內。


 吊(diao)柱布置(zhi)如圖6-86所示(shi)。


85.jpg


三、梯(ti)子


  塔(ta)器上(shang)的(de)梯(ti)子幾乎都(dou)是(shi)直梯(ti),是(shi)上(shang)下(xia)各(ge)層平臺以及安全(quan)逃生(sheng)的(de)通(tong)道,也(ye)可作為觀察(cha)、操作和維修某(mou)些附件(jian)的(de)設施。


  需(xu)要經常上(shang)去進行操(cao)作和(he)維(wei)修工作的平臺(tai)應設置(zhi)梯(ti)(ti)子;下(xia)列附件也可(ke)靠近(jin)直梯(ti)(ti)布置(zhi):3”及以下(xia)的閥;各種(zhong)液位計(ji)視鏡(jing);手孔;壓力計(ji)等(deng)儀表(biao)。


  梯子布(bu)置應注意的事(shi)項如(ru)下:


    ①. 梯子的布置間距(ju)必須滿足GB50160《石油化工(gong)企業設計防火規范》的規定。


    ②. 直梯寬度(du)以0.4~0.6m為宜,高度(du)超(chao)過2m時應加設安全護籠。


    ③. 塔平臺直梯應自下而上分段錯開布置(zhi)。


    ④. 高度(du)在15m及(ji)以下時,每段高5~8m為宜,超過15m時,每段應不高于5m,否則(ze)應設中間休息平臺(按SH3011的規(gui)定)。


四、管口方位(wei)


  塔(ta)的(de)管(guan)道(dao)與(yu)其(qi)他設備管(guan)道(dao)相(xiang)比,其(qi)特點是(shi)根據工藝(yi)要(yao)求(qiu)安排好管(guan)口和塔(ta)盤等(deng)內部(bu)(bu)結構的(de)關系(xi),這種關系(xi)的(de)好壞對管(guan)道(dao)布置(zhi)的(de)簡化、操(cao)(cao)作的(de)方便、檢修的(de)難(nan)易(yi)、是(shi)否經濟等(deng)有很(hen)大的(de)影(ying)響(xiang)。因此,需要(yao)對塔(ta)的(de)內部(bu)(bu)結構、塔(ta)的(de)操(cao)(cao)作進(jin)行充(chong)分(fen)了解。


 1. 人孔 從檢修和(he)操作上(shang)考慮,人孔方位(wei)應布置在檢修側(ce),且宜設在同(tong)一垂線上(shang),但不(bu)能朝向(xiang)(xiang)加熱爐和(he)其他危險氣體發生區(qu)域;若(ruo)有兩臺塔(ta)并列時,人孔應朝向(xiang)(xiang)一致(同(tong)一方向(xiang)(xiang))。對有塔(ta)盤(pan)等內(nei)部結構(gou)的(de)塔(ta),人孔開設的(de)方位(wei)必須注(zhu)意同(tong)內(nei)部構(gou)件(jian)的(de)關系,應開設在降液管以(yi)外的(de)區(qu)域。


    ①. 塔頂人孔。注意到降液(ye)盤(pan)區即可,但降液(ye)管在300mm以(yi)下時,可圓周(360°)布(bu)置(圖 6-87)


    ②. 中間人孔。


    ③. 塔底人孔。


87.jpg

90.jpg


 2. 儀表管口 儀表最好不要放(fang)在人(ren)孔旁(有破損(sun)的危(wei)險)。


    ①. 液(ye)(ye)位(wei)(wei)計和液(ye)(ye)位(wei)(wei)調節器的(de)(de)開(kai)口應(ying)布置(zhi)(zhi)在便于監視(shi)、檢查及能從抽出泵和調節閥(fa)的(de)(de)旁通處看(kan)得見的(de)(de)位(wei)(wei)置(zhi)(zhi),且液(ye)(ye)面(mian)應(ying)不受流入液(ye)(ye)體沖擊(ji)的(de)(de)影響。


    ②. 液(ye)位調(diao)節變送器,應設(she)在平(ping)臺或梯(ti)子上操(cao)作(zuo)方便(bian)的地方,站在梯(ti)子平(ping)臺上操(cao)作(zuo)的液(ye)位調(diao)節器和液(ye)位計宜安裝在梯(ti)子的右側。


    ③. 液(ye)(ye)(ye)(ye)(ye)位(wei)(wei)調(diao)節器(qi)(qi)最適宜(yi)的(de)位(wei)(wei)置(zhi),是在檢查液(ye)(ye)(ye)(ye)(ye)位(wei)(wei)調(diao)節器(qi)(qi)時(shi)(shi),可以看到液(ye)(ye)(ye)(ye)(ye)位(wei)(wei)計的(de)地方;并應考慮(lv)由于液(ye)(ye)(ye)(ye)(ye)相進料影響的(de)液(ye)(ye)(ye)(ye)(ye)位(wei)(wei)波(bo)動。當設置(zhi)的(de)擋板不能避免液(ye)(ye)(ye)(ye)(ye)位(wei)(wei)波(bo)動時(shi)(shi),應與設備專業協(xie)商解(jie)決液(ye)(ye)(ye)(ye)(ye)位(wei)(wei)計的(de)方位(wei)(wei),取決于受液(ye)(ye)(ye)(ye)(ye)槽與重沸器(qi)(qi)返回口間的(de)關(guan)系(圖6-92、圖6-93)。


    ④. 兩個低溫液位計(ji)不要靠在一起,防止“冷橋”產(chan)生和(he)結霜(圖6-94)。


    ⑤. 壓(ya)力(li)表(biao)開(kai)(kai)口和(he)壓(ya)差計上部開(kai)(kai)口應(ying)布置在氣相區。框架(jia)內的(de)塔,如果壓(ya)力(li)表(biao)、溫度(du)計管(guan)口與結構梁過于接(jie)近,應(ying)考慮安(an)裝的(de)可能性,必要時與設備工程師商量以進行修改。


92.jpg


 3. 回流管(guan)(guan)、進料管(guan)(guan)和抽出管(guan)(guan)等布(bu)置(圖(tu)(tu)6-95~圖(tu)(tu)6-97)塔(ta)(ta)頂(ding)氣(qi)相(xiang)(餾(liu)出線)開(kai)口(kou)(kou)布(bu)置在塔(ta)(ta)頂(ding)頭(tou)蓋中(zhong)部,安全閥(fa)開(kai)口(kou)(kou)、放空管(guan)(guan)開(kai)口(kou)(kou)一般布(bu)置在塔(ta)(ta)頂(ding)氣(qi)相(xiang)開(kai)口(kou)(kou)的附近,也可將放空管(guan)(guan)開(kai)口(kou)(kou)布(bu)置在塔(ta)(ta)頂(ding)氣(qi)相(xiang)管(guan)(guan)道最高水(shui)平段的頂(ding)部。


  塔頂回流或中段(duan)回流的(de)開(kai)口,一般布置在(zai)塔板的(de)管道側,回流管的(de)內部結構和開(kai)口方位與塔溢流方式有關。


  氣相(xiang)進(jin)料開口一(yi)般(ban)布置在塔板(ban)上(shang)方,與降液(ye)管(guan)平行,當氣流(liu)速度較高(gao)時,應設分配管(guan);氣液(ye)相(xiang)混合進(jin)料開口一(yi)般(ban)布置在塔板(ban)上(shang)方,并設分配管(guan),當流(liu)速較高(gao)時應切線進(jin)入,并設螺(luo)旋(xuan)導板(ban)。


  塔(ta)板(ban)的(de)抽出口(kou)(kou):單溢流塔(ta)板(ban),從(cong)流體(ti)的(de)均衡性考慮,開(kai)(kai)口(kou)(kou)應與受液槽垂直布置;雙溢流塔(ta)板(ban),無論(lun)是一個(ge)開(kai)(kai)口(kou)(kou)或是兩個(ge)開(kai)(kai)口(kou)(kou),開(kai)(kai)口(kou)(kou)都宜布置在與降液管平行的(de)塔(ta)中心線上。


97.jpg


聯系方式.jpg