①. 往復的管道存在著由于流體脈動而發生振動的現象,管道應盡量減少拐彎。


  ②. 為防止往復泵管道(dao)的脈沖振動,泵出口管道(dao)第一(yi)個(ge)支(zhi)架(jia)(jia)(jia)應采用(yong)固定(ding)架(jia)(jia)(jia),其余支(zhi)架(jia)(jia)(jia)應采用(yong)防振管卡,同時(shi)注(zhu)意減小支(zhi)架(jia)(jia)(jia)跨距,增加(jia)支(zhi)架(jia)(jia)(jia)剛度,以抑制可能產生的機(ji)械(xie)振動。


  ③. 除(chu)注意上述要求外(wai),還應根(gen)據工藝要求及泵制造廠的使用經驗。


  ④. 在泵出(chu)口(kou)(或盡量靠(kao)近(jin)出(chu)口(kou))處安裝(zhuang)足夠容積的緩沖罐(或脈(mo)動衰減器),以緩解或消除所產生的脈(mo)沖振動。


  ⑤. 當輸(shu)送(song)介(jie)質(zhi)溫度高于180℃時(shi),減振(zhen)緩沖罐的(de)連接管應(ying)有(you)3m左右長度的(de)不保(bao)溫管段(圖6-178)。


178.jpg


  ⑥. 在泵的(de)前端(duan)應(ying)留有活(huo)塞桿(gan)抽出檢修的(de)空間;管道(dao)布置不應(ying)妨礙活(huo)塞及拉桿(gan)的(de)拆卸和檢修。


  ⑦. 在泵和第一個(ge)容器(qi)之間的(de)(de)(de)進出(chu)口管(guan)(guan)道(dao)上的(de)(de)(de)支管(guan)(guan)公(gong)稱直徑小于或等于25mm(包括出(chu)口管(guan)(guan)道(dao)上的(de)(de)(de)壓(ya)力(li)表)時,接(jie)口根(gen)部(bu)需設加強連接(jie)板,以防(fang)止管(guan)(guan)接(jie)口損壞。


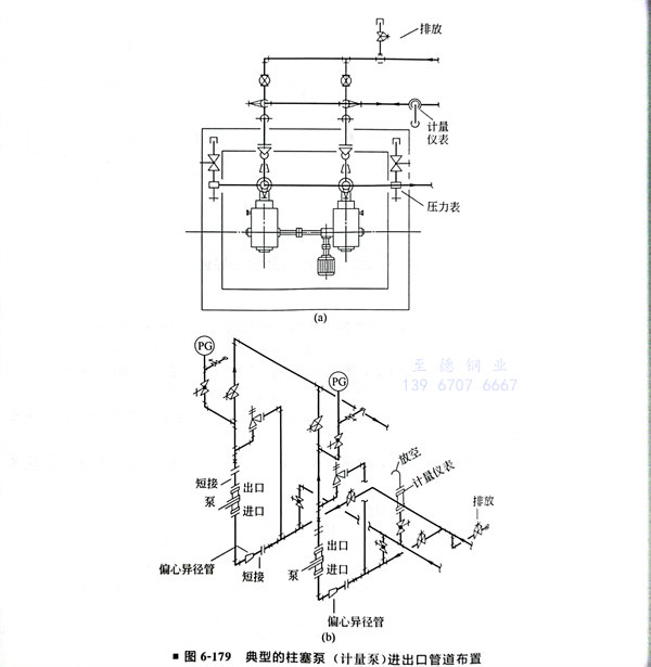
  ⑧. 典型的(de)柱塞(sai)泵(計量泵)進(jin)出(chu)口(kou)管(guan)道(dao)布置(zhi)如(ru)圖(tu)6-179所示。


179.jpg


聯系方式.jpg