蒸汽分(fen)配站和(he)供氣管的布置(圖6-226)


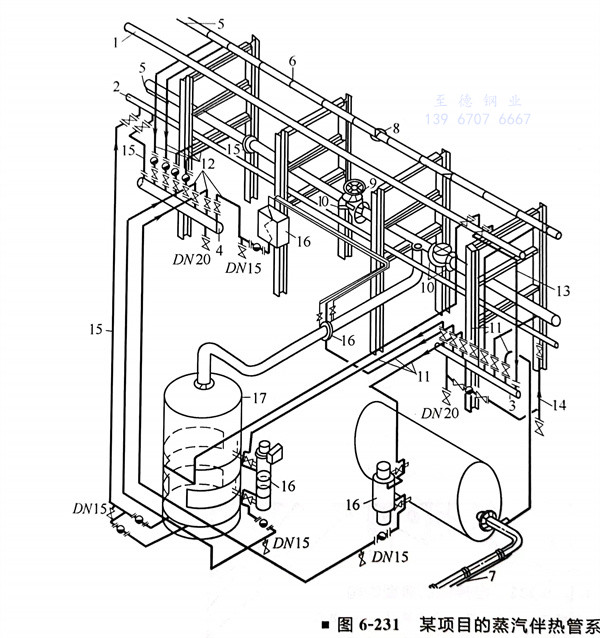
  冷(leng)凝(ning)水回(hui)收時收集站和冷(leng)凝(ning)水回(hui)收管的(de)布置(圖6-227)


227.jpg


注:1. 冷凝(ning)水(shui)(shui)收(shou)集站高于冷凝(ning)水(shui)(shui)總(zong)管時,低點可不設(she)排液口;回水(shui)(shui)管應無(wu)袋形(xing)并坡向(xiang)冷凝(ning)水(shui)(shui)總(zong)管。

     2. 冷(leng)(leng)凝水收集站至少(shao)有(you)3根冷(leng)(leng)凝水支管(guan)時(shi)才(cai)設置,否則可(ke)直接(jie)接(jie)至冷(leng)(leng)凝水總(zong)管(guan)上。

     3. 冷凝水收集站(zhan)應(ying)布置在(zai)不妨礙通行,便(bian)于(yu)操作的地方,布置應(ying)考慮整齊和美觀(guan)。

    4. 冷凝水(shui)回(hui)水(shui)管的(de)閥(fa)門應布置在便于接近(jin)的(de)地方。

   5. 冷(leng)凝(ning)水回水管應從冷(leng)凝(ning)水總管的頂部(bu)引人。



  熱(re)水分配站限流孔板的錯(cuo)誤設計


  有(you)(you)的(de)設計(ji)人員為每根伴(ban)熱供管(guan)(guan)都增(zeng)(zeng)加了(le)限流孔板,這(zhe)是沒有(you)(you)真正(zheng)理(li)解(jie)限流孔板的(de)作用,其實只有(you)(you)在(zai)同一(yi)個熱水(shui)分配站上(shang)最(zui)短熱水(shui)伴(ban)管(guan)(guan)當量長度小(xiao)于(yu)最(zui)長伴(ban)管(guan)(guan)當量長度70%的(de)時候,才在(zai)較短管(guan)(guan)線上(shang)增(zeng)(zeng)加限流孔板或截止(zhi)閥才有(you)(you)作用,否則既浪(lang)費又不起作用。




聯系方式.jpg