一(yi)、閥門的選(xuan)擇和測(ce)試準備(bei) 


1. 必須提供測試閥門的填料API622證書或測試報告,將其附在API624低泄漏測試報告中。 


2. 需(xu)測(ce)(ce)(ce)試(shi)(shi)(shi)的(de)(de)閥(fa)門應全部(bu)裝配(pei)好,以待測(ce)(ce)(ce)試(shi)(shi)(shi)。閥(fa)門應從生產廠(chang)(chang)家或分銷商庫(ku)存處(若存在此庫(ku)存)隨機(ji)選 擇。若非(fei)庫(ku)存閥(fa)門,廠(chang)(chang)家需(xu)保證(zheng)被測(ce)(ce)(ce)試(shi)(shi)(shi)的(de)(de)閥(fa)門之前(qian)沒(mei)有進行任何修改以滿(man)足型(xing)式測(ce)(ce)(ce)試(shi)(shi)(shi)的(de)(de)要求,且此閥(fa)門可(ke) 以作(zuo)為廠(chang)(chang)家庫(ku)存產品的(de)(de)典(dian)型(xing)代表(biao)。閥(fa)門的(de)(de)選擇需(xu)要得到購買方(fang)的(de)(de)批(pi)準。


 3. 中(zhong)道(dao)和壓蓋螺栓的扭矩需證實與廠家的發行的安(an)裝規范一(yi)致。


 4. 閥門所有的先期測試需記錄于低泄漏測試報告(附件一(yi))中。 


 5. 作為安(an)全預防措施,在測試(shi)之前,需用惰性氣體(ti)來清空(kong)閥(fa)門腔內的空(kong)氣。


二、型式測試 


 1. 測試的介質需(xu)用最小(xiao)純度為97%的甲烷。 


  注意(yi):測(ce)試期間使用的甲(jia)烷是一種加壓可燃氣體,要求采取(qu)適(shi)當的安(an)全措(cuo)施。 


    a. 閥門的(de)(de)測(ce)試具有潛在的(de)(de)危險,必須把人(ren)員的(de)(de)安全(quan)放(fang)在首位考慮。鑒于此測(ce)試的(de)(de)性質,可能會發生加 壓(ya)氣體危險的(de)(de)釋放(fang)。需在測(ce)試封閉(bi)區域提供充分(fen)的(de)(de)屏障或隔離(li)以及恰當的(de)(de)人(ren)員保護(hu)措施。 

  

    b. 測(ce)試設施(shi)需設計成可確保所有(you)的測(ce)試狀(zhuang)況(kuang)是在安(an)全(quan),有(you)保護(hu)的環境下進行。測(ce)試廠家有(you)責任(ren)去分析 由(you)于壓力和溫(wen)度造(zao)成的危害,并作出適(shi)當的安(an)全(quan)保護(hu)措施(shi)。應遵守所有(you)可適(shi)用(yong)的安(an)全(quan)法規。 


    c. 所有的設(she)備需有相(xiang)應的證(zheng)書證(zheng)明(ming)其可以承受(shou)最(zui)小(xiao)和最(zui)大的壓力以及測(ce)試環(huan)境的溫度。 


   d. 供應(ying)甲烷的進(jin)口(kou)和(he)(he)出口(kou)所(suo)用的軟管(guan)和(he)(he)管(guan)道(dao)應(ying)可適用最大和(he)(he)最小壓(ya)力(li)和(he)(he)溫度。當用到軟管(guan)時,需設計 適當的控制系統來防止萬一發生介質吹出時,軟管(guan)從測試臺(tai)面分離。 


   e. 所有(you)測(ce)試需遵(zun)守當地(di)和(he)國家的相關(guan)法律法規(gui)。


 2. 測(ce)試(shi)的閥門的閥桿方向需是垂直的。 


 3. 閥門需根據圖1進行總共310個(ge)機(ji)械循環和3個(ge)熱循環周期(qi)。


    閥門(men)在(zai)室溫情(qing)況下開始做機械循環。若買方 有(you)要求(qiu),可選做在(zai)–29 °C (–20 °F)的低溫測(ce)試(見圖1)


閥門循環.bmp



 4. 閥門可(ke)用內部熱(re)源(yuan)或(huo)者如(ru)電熱(re)毯,線圈等外部熱(re)源(yuan)來加(jia)熱(re),也可(ke)用其他合適的設(she)備或(huo)適當的內部熱(re)源(yuan) 來加(jia)熱(re)。 


 5. 加(jia)熱溫度(du)應升高至260 °C (500 °F) ±5% 


 6. 可適(shi)用的材料(liao)的測(ce)試壓力需低(di)于41.4barg(600psig),或根據(ju)ASME B16.34在 260 °C (500 °F)下的 最(zui)大允(yun)許壓力值,并且在整個(ge)測(ce)試期間保持不變。


 7. 測試的(de)閥(fa)門可(ke)安裝一(yi)種(zhong)使閥(fa)門機械循環的(de)驅(qu)動(dong)。此驅(qu)動(dong)不可(ke)強加給閥(fa)桿或填料(liao)額外的(de)側邊(bian)載荷。第(di)一(yi) 次和最后(hou)一(yi)次的(de)測試需記錄(lu)運行扭矩值。 


 8. 需記錄靜態和動態的閥(fa)桿(gan)泄(xie)漏測量值。


   a. 泄(xie)漏需在靜態空氣(qi)中(zhong)進(jin)行(xing)測(ce)量。


      測試期間應使(shi)用鋁箔(bo)外(wai)殼來屏蔽受環境影(ying)響的(de)潛在的(de)滲漏(lou)通(tong)路。鋁 箔(bo)外(wai)殼應包括閥桿外(wai)徑和填料的(de)外(wai)徑。 


   b. 需對中(zhong)道連(lian)接和輔助連(lian)接進(jin)行泄漏探測。


   中道連接(jie)和輔助連接(jie)的泄漏會(hui)影響泄漏測(ce)(ce)量的讀數(shu),應(ying)(ying)在 測(ce)(ce)試之前(qian)糾正(zheng)過(guo)來,并在報(bao)告(gao)中記錄(lu)。閥蓋的探(tan)測(ce)(ce)針頭的速率應(ying)(ying)該在每秒25mm(1英(ying)寸)。應(ying)(ying)調整儀器來彌補 后臺的甲烷水平。 


  c. 應在以設(she)備反(fan)應時間兩倍(bei)的時間延遲后,記錄靜(jing)態/動態泄漏。 


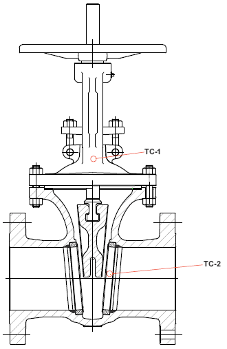
 9. 閥門(men)應配(pei)備(bei)熱(re)電(dian)偶(ou)來監測(ce)測(ce)試期間的溫度(du)。應在兩個位置監測(ce)并(bing)記錄溫度(du)。(見(jian)圖2) 


閥門溫度位置.png


   a. TC-1處,附(fu)(fu)在填料箱(xiang)上。附(fu)(fu)在填料箱(xiang)上的熱(re)電偶需控(kong)制溫(wen)度。 


   b. TC-2處,固定在(zai)閥體外部,臨近流通路徑的地方,可作為參考測量。 


   c.  TC-2處(chu)(chu)(chu),需與(yu)TC-1處(chu)(chu)(chu)值同等(deng)或大于(yu)TC-1處(chu)(chu)(chu)。


 10.  不允(yun)許在型式測試(shi)過程中調整填(tian)料。


  浙江至德鋼業有限公司專業生產不銹鋼管及管道連接配件廠家,倉庫常備不銹鋼管庫存1000余噸及部分不銹鋼法蘭管件(彎頭|三通|大小頭)現貨,常用規格可當天發貨。另可提供各種不銹鋼管切割、拋光、折彎、鉆孔、焊接、車床加工及管道預制件加工等配套服務。