①. 此處的高(gao)點排(pai)(pai)氣(qi)及低(di)點排(pai)(pai)液(ye)是指在PID圖上(shang)可以不表示的。高(gao)點排(pai)(pai)氣(qi)用(yong)于(yu)水(shui)壓(ya)試驗及液(ye)體(ti)管道的排(pai)(pai)氣(qi),低(di)點排(pai)(pai)液(ye)用(yong)于(yu)水(shui)壓(ya)試驗及停(ting)車排(pai)(pai)凈(jing)等。PID圖上(shang)所表示的排(pai)(pai)氣(qi)和排(pai)(pai)液(ye)應按(an)流程要求,并遵循有關規(gui)定(ding)進行設計。


②. 不銹鋼管道(dao)的高點與低點均應分別備有排氣口與排液口,并位于容易接近的地方。如該處(相同高度)有其他接口可利用時,可不另設排氣口或排液口。除管廊上的管道外,對于公稱直徑小于或等于25mm的管道可省去排氣口。對于蒸汽伴熱管迂回時出現的低點處,可不設排液口。


③. 高點(dian)(dian)排(pai)(pai)氣管(guan)的公(gong)(gong)稱直(zhi)徑最小(xiao)應為(wei)(wei)15mm;低點(dian)(dian)排(pai)(pai)液(ye)管(guan)的公(gong)(gong)稱直(zhi)徑最小(xiao)應為(wei)(wei)20mm。當主管(guan)公(gong)(gong)稱直(zhi)徑為(wei)(wei)15mm時,可采用等徑的排(pai)(pai)液(ye)口(kou)。SH3012規定了放氣口(kou)、排(pai)(pai)液(ye)口(kou)的最小(xiao)公(gong)(gong)稱直(zhi)徑,對于小(xiao)于或等于DN25的為(wei)(wei)15mm,對于DN40~150的為(wei)(wei)20mm,對于DN200~350的為(wei)(wei)25mm,對于大于或等于DN400的為(wei)(wei)40mm。高黏度介質管(guan)道排(pai)(pai)液(ye)口(kou)大于或等于DN25。


④. 氣(qi)(qi)體管道的高點排氣(qi)(qi)口可(ke)不設閥門,接(jie)管口應采用(yong)法(fa)蘭蓋或(huo)管帽等加以封閉。


⑤. 所有排(pai)液口最低點與地面或(huo)平臺(tai)的距離不宜(yi)小于150mm。


⑥. 飽(bao)和蒸(zheng)(zheng)汽管道的低點(dian)應設集液包(bao)及蒸(zheng)(zheng)汽疏水(shui)閥組。


⑦. 對于(yu)全廠性的(de)(de)工藝、凝結水(shui)和水(shui)管道,在(zai)歷年最(zui)冷月月平均溫度的(de)(de)平均值高于(yu)0℃的(de)(de)地(di)區(qu),應(ying)少設(she)低(di)(di)點(dian)排液(ye)(ye),低(di)(di)于(yu)或等(deng)于(yu)0℃的(de)(de)地(di)區(qu),應(ying)在(zai)適(shi)當位置設(she)低(di)(di)點(dian)排液(ye)(ye)。


⑧. 氫(qing)氣(qi)管(guan)道上不宜設(she)置高(gao)點(dian)排(pai)氣(qi)和低點(dian)排(pai)液。


⑨. 蒸汽主管(干管)的排(pai)液(ye)設施應包括撲集(ji)(ji)管、切(qie)斷(duan)閥和疏水閥(具體可見本(ben)書“蒸汽管道(dao)集(ji)(ji)液(ye)包”所述)。


⑩. 公用工程(cheng)管道的末端應設置低點排液口,以利(li)排液和(he)吹掃(sao)。


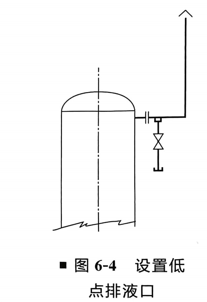
?. 凡向(xiang)大氣(qi)(qi)排放的排氣(qi)(qi)管道,應(ying)設置低點排液口,如圖6-4所示。


4.jpg


?. 輸送(song)催化劑(ji)或高黏度的物料(如(ru)焦油、瀝青、重質(zhi)燃料油等(deng))管道排(pai)氣、排(pai)液口的直徑應不小于(yu)DN25。


?. 漿液(ye)管道不宜設(she)置(zhi)(zhi)排(pai)(pai)氣(qi)和排(pai)(pai)液(ye)口,如(ru)需(xu)要(yao)設(she)置(zhi)(zhi)排(pai)(pai)液(ye)口時其型式(shi)和尺(chi)寸(cun)見圖6-5和表(biao)6-3所示。


5.jpg


?. 輸送固體或漿料管道的排氣、排液管的切斷閥宜選用球閥旋(xuan)塞閥


?. 管道上(shang)排(pai)氣、排(pai)液口設置的閥(fa)門應靠(kao)近主(zhu)管。


?. 振動管道(dao)上(shang)直徑小于(yu)DN40密(mi)閉(bi)放空、放凈管根部接(jie)口處應采取加強措施。


?. 輸送液(ye)態(tai)丁烷(wan)和(he)更(geng)輕的液(ye)化烴類管道(dao)上(shang)的排(pai)(pai)氣、排(pai)(pai)液(ye)管的切斷閥應(ying)設雙閥。


?. 放氣(qi)或(huo)(huo)排液管(guan)(guan)上(shang)的切斷閥(fa),宜用閘閥(fa),閥(fa)后(hou)可接帶管(guan)(guan)帽短管(guan)(guan);對于高壓、極度(du)及(ji)(ji)高度(du)危(wei)害介質的管(guan)(guan)道應設雙閥(fa)。當(dang)設置(zhi)單閥(fa)時(shi),應加(jia)盲(mang)板(ban)或(huo)(huo)法(fa)蘭蓋;連續操作的可燃氣(qi)體管(guan)(guan)道低點的排液閥(fa),應為雙閥(fa)。排出的液體應排放至密(mi)閉系統:僅在(zai)開停工時(shi)使(shi)用的排液閥(fa),可設一道閥(fa)門并加(jia)螺紋堵頭、管(guan)(guan)帽、盲(mang)板(ban)或(huo)(huo)法(fa)蘭蓋。可燃液體管(guan)(guan)道以(yi)及(ji)(ji)大于2.5MP。蒸汽管(guan)(guan)道上(shang)排液管(guan)(guan)裝一個(ge)切斷閥(fa)時(shi),應在(zai)端頭加(jia)管(guan)(guan)帽(管(guan)(guan)堵)盲(mang)板(ban)或(huo)(huo)法(fa)蘭蓋。


?. 容器設(she)備(bei)上的排氣管(guan)除作為進出料呼吸用(yong)外,應設(she)置切(qie)斷閥,閥門宜直接(jie)與設(she)備(bei)管(guan)口相接(jie)。當只安裝一個切(qie)斷閥時其端部應設(she)置絲堵、管(guan)帽(mao)或盲(mang)法蘭密封。


?. 允許(xu)向大(da)氣排(pai)放(fang)的介質排(pai)氣管端部的高度應符合(he)本書(shu)“管道布(bu)置設計的一般要求(qiu)”中“32大(da)氣排(pai)放(fang)的相關規定”。


21. 為保證閥(fa)門檢修、絲堵、管(guan)帽(mao)及法(fa)蘭拆卸、軟(ruan)管(guan)連接,管(guan)道上低點排液管(guan)管(guan)端(duan)距(ju)地面或樓板面的凈距(ju)不得小于100mm。


22. 接地(di)漏或開口罐的(de)放凈(jing)管管口應(ying)高出地(di)漏或罐口大于(yu)或等于(yu)50mm。


23. 管(guan)道(dao)布置(zhi)呈U形II形時,其水(shui)平或(huo)垂直管(guan)道(dao)上(shang)的排氣、排液(ye)口安裝位置(zhi)盡(jin)量設置(zhi)在(zai)物料流向的下(xia)游端(duan)部。


24. 對易自聚、易凍結、易凝固(gu)、含固(gu)體介質的(de)管(guan)(guan)(guan)道上的(de)排液管(guan)(guan)(guan)不應(ying)配成(cheng)如圖(tu)(tu)6-6(a)所示的(de)彎管(guan)(guan)(guan)形(xing)式。一(yi)般應(ying)采(cai)用圖(tu)(tu)6-6(b)的(de)形(xing)式。圖(tu)(tu)6-6(c)右側(ce)的(de)排凈閥(fa)門放置(zhi)不合理,閥(fa)門上側(ce)易積液。


6.jpg


25. 排(pai)氣、排(pai)液管端部連接形(xing)式(shi)。


  a. 當采(cai)用管(guan)(guan)螺紋管(guan)(guan)件連接時,排氣、排液閥出(chu)口處加(jia)絲堵(du)密封。


  b. 當采(cai)用承插焊接(jie)型(xing)管件連接(jie)時,排(pai)氣(qi)、排(pai)液閥(fa)出口處加螺紋(wen)管帽密封。如(ru)排(pai)氣(qi)、排(pai)液閥(fa)為法蘭(lan)連接(jie)時,可采(cai)用盲法蘭(lan)密封,亦可采(cai)用螺紋(wen)法蘭(lan)加絲堵。


  c. 當采用定型管件連接時,管端(duan)部加(jia)盲板法(fa)蘭(lan),需要(yao)時可(ke)采用螺紋法(fa)蘭(lan)加(jia)絲堵。


26. 排(pai)氣(qi)和(he)排(pai)液型(xing)式分為兩(liang)類,一(yi)類為帶閥門(men)型(xing),另一(yi)類為不帶閥門(men)型(xing)。不帶閥門(men)的排(pai)氣(qi)和(he)排(pai)液不宜采用。


  各(ge)種類(lei)型的(de)排氣、排液配管的(de)選用應根據工程管道等級(ji)規定(ding)選用。


  其(qi)中螺紋連(lian)接主(zhu)(zhu)要(yao)用(yong)(yong)于(yu)低壓公用(yong)(yong)工(gong)(gong)程管(guan)道(dao)上(shang)(shang)的(de)排(pai)(pai)(pai)(pai)(pai)氣和排(pai)(pai)(pai)(pai)(pai)液(ye)。承插焊連(lian)接主(zhu)(zhu)要(yao)用(yong)(yong)于(yu)碳鋼(gang)(gang)或低合(he)金(jin)鋼(gang)(gang)的(de)工(gong)(gong)藝(yi)管(guan)道(dao)或壓力較(jiao)高的(de)公用(yong)(yong)工(gong)(gong)程管(guan)道(dao)上(shang)(shang)。法蘭連(lian)接主(zhu)(zhu)要(yao)用(yong)(yong)于(yu)不銹鋼(gang)(gang)等合(he)金(jin)鋼(gang)(gang)工(gong)(gong)藝(yi)管(guan)道(dao)上(shang)(shang)。設(she)備上(shang)(shang)的(de)排(pai)(pai)(pai)(pai)(pai)氣類(lei)型較(jiao)多(duo)。圖(tu)6-7所示為(wei)常用(yong)(yong)排(pai)(pai)(pai)(pai)(pai)氣、排(pai)(pai)(pai)(pai)(pai)液(ye)管(guan)安裝圖(tu)(含工(gong)(gong)藝(yi)要(yao)求排(pai)(pai)(pai)(pai)(pai)氣和排(pai)(pai)(pai)(pai)(pai)凈)。


7.jpg


聯系方式.jpg