①. 集液包應設置(zhi)在下列場合(he)。


  a. 蒸(zheng)汽主管的末端。


  b. 蒸(zheng)汽管線(xian)的立式(shi)II形補償彎管或立管最低處。


  c. 蒸汽(qi)水平管的低點處。


  d. 裝(zhuang)置邊(bian)界蒸汽管線切斷閥之(zhi)前。



②. 水平敷設(she)的長蒸汽管應設(she)集液包,其(qi)間隔如(ru)下。


  a. 在裝置內,飽(bao)和(he)蒸汽宜為80m,過熱(re)蒸汽宜為160m。


  b. 在裝置外,順坡時宜為(wei)300m,逆坡時宜為(wei)200m。



③. 管廊上蒸汽總管末端的集液包配管應考慮以下要求。


  a. 集液包(bao)及接管與(yu)梁之間的(de)凈距應大于(yu)熱位(wei)移量(liang)及保溫(wen)所(suo)需的(de)空(kong)間,且不小于(yu)200mm(圖6-17)。


  b. 集液包的(de)冷凝水(shui)出口管(guan)(guan)(guan)的(de)方位不(bu)宜向管(guan)(guan)(guan)廊梁的(de)一側引出,同時避免與管(guan)(guan)(guan)廊下層管(guan)(guan)(guan)道相(xiang)碰。疏水(shui)閥應布置在不(bu)影響通(tong)行(xing)的(de)地方。


  c. 集(ji)液包的(de)冷(leng)凝水出口管的(de)走向,除考(kao)慮管道柔性要求外,還要考(kao)慮便于設置(zhi)管道支(zhi)架及疏(shu)水閥(fa)組的(de)支(zhi)架。


  d. 在蒸汽主管的位(wei)移較大時,靠近主管的小管支架應盡量利(li)用主管生根,以減(jian)小相(xiang)對(dui)位(wei)移。


  e. 蒸汽管徑小于DN80時,根據項目要(yao)求可不(bu)必采用集液包,僅設低(di)點排放(fang)至疏水閥即可。


17.jpg

④. 集液包的結構(gou)如下。


  a. 集液包的冷凝水(shui)出口管線應設切斷(duan)閥或蒸汽疏水(shui)閥組。


  b. 集液包通(tong)常采用標準(zhun)管(guan)件(jian)組(zu)合(he)而成,應符合(he)管(guan)道等(deng)級規定。集液包下(xia)端宜用法蘭(lan)蓋,兼(jian)作吹(chui)掃用。也(ye)可以(yi)用焊接管(guan)帽,但需增加排液口。


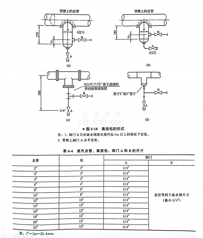
  c. 根據蒸汽主管的管徑范圍組合(he)形(xing)式(shi),集(ji)液(ye)(ye)包(bao)有如(ru)圖(tu)6-18所示的幾種形(xing)式(shi)。蒸汽總管、集(ji)液(ye)(ye)包(bao)、閥門A和B的尺寸見表6-4。


18.jpg





聯系方式.jpg