氮 氮作為合金元素早期用于Cr-Mn-N和Cr-Mn-Ni-N奧氏體不銹鋼中,以節約鎳。除節鎳效果外,氮通過固溶強化可顯著提高奧氏體不(bu)銹(xiu)鋼(gang)的強度,而不顯著損害其塑性和韌性,同時氮還可以提高鋼的耐均勻腐蝕、耐點蝕(shi)、耐縫隙腐蝕和耐晶間(jian)腐蝕(shi)的性能。


 由于氮的(de)(de)良(liang)好(hao)作用,用氮合金化的(de)(de)奧氏(shi)體不(bu)銹(xiu)鋼(gang)(gang)不(bu)斷(duan)取(qu)得進展(zhan)并獲得應用。目(mu)前應用的(de)(de)含氮奧氏(shi)體不(bu)銹(xiu)鋼(gang)(gang)可以分為三種類(lei)型:


1. 控氮型


   此類鋼(gang)(gang)是在超低(di)碳(0.02%~0.03%)鉻鎳奧氏(shi)(shi)體不(bu)銹(xiu)鋼(gang)(gang)中加(jia)入(ru)0.05%~0.12%N,用以提(ti)高(gao)鋼(gang)(gang)的(de)強度,使其達到含(han)穩定化元素(su)鈦(tai)或(huo)普通低(di)碳(≤0.08%)奧氏(shi)(shi)體不(bu)銹(xiu)鋼(gang)(gang)的(de)水平。


2. 中氮型


   此類(lei)鋼(gang)(gang)(gang)含有0.12%~0.40%N,是在正常大(da)氣壓力條件下(xia)冶煉(lian)和澆鑄所得到的氮合(he)金(jin)化奧氏體不銹鋼(gang)(gang)(gang)。此類(lei)鋼(gang)(gang)(gang)以耐腐蝕為主(zhu)要目(mu)的,同時(shi)具(ju)有較高的強(qiang)度。


3. 高氮(dan)型


   此(ci)類鋼(gang)氮含量在(zai)(zai)0.40%以(yi)上。此(ci)類鋼(gang)在(zai)(zai)加壓條件下冶煉(lian)(lian)和澆(jiao)鑄,或(huo)者調(diao)整鋼(gang)中的鉻(ge)、錳含量在(zai)(zai)常規條件下冶煉(lian)(lian)和澆(jiao)鑄,將(jiang)氮加入到(dao)足夠(gou)高的水平。此(ci)類鋼(gang)主要在(zai)(zai)固溶態(tai)或(huo)半冷加工狀態(tai)下使(shi)用,既具有高強(qiang)度,又耐腐蝕。


  氮形成奧氏體的能力與碳相當,約為鎳的30倍。氮在奧氏體不銹鋼中可代替部分鎳,可降低鋼中的鐵素體含量,并使奧氏體更穩定,甚至可避免出現馬氏體轉變。在鉻鎳奧氏體不銹鋼中,氮含量的增加可形成氮化物Cr2N(圖9.54)。


54.jpg


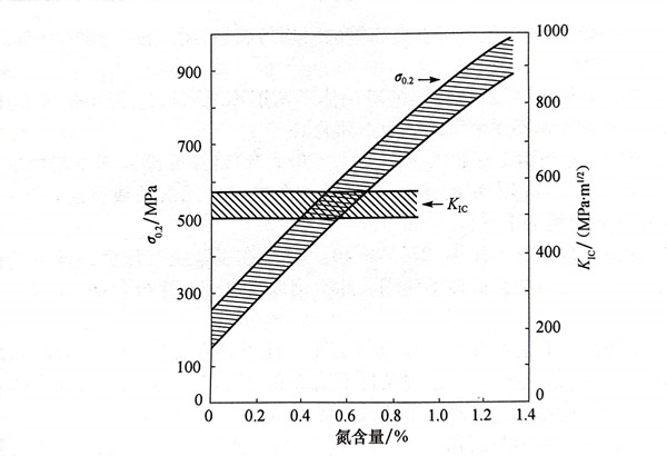
 氮顯著提高奧氏體鋼的強度(圖4.19),每加入0.010%N,可提高鉻鎳奧氏體不銹鋼的室溫強度(σ0.2σb)60~100MPa,其塑性仍保持足夠高的水平。圖9.67顯示氮含量對022Cr19Ni10鋼室溫力學性能的影響。在高氮奧氏體鋼中,氮亦可以提高其強度,氮含量為1.2%的低碳Cr-Ni-Mn-N奧氏體不銹鋼的屈服強度可達800~900MPa。曾對低碳的18Cr-18Mn-N奧氏體不銹鋼的力學性能進行過研究,經固溶處理后可獲得單一的奧氏體組織,圖9.68為氮含量對其室溫屈服強度和斷裂韌度的影響。研究結果表明,在氮固溶于奧氏體的情況下,其含量高至0.74%時,斷裂韌度不降低,而其屈服強度顯著提高。通過冷加工變形,可以進一步提高其屈服強度。在固溶氮含量為0.58%時,經過40%的冷變形,鋼的屈服強度可達1400~1500MPa,其斷裂韌度將由很高的500MPa·m1/2降至依然不錯的200MPa·m1/2


67.jpg 68.jpg


 在(zai)氮含(han)量小于0.67%時,鉻鎳奧氏體不(bu)銹鋼仍(reng)有(you)低(di)的韌脆轉變溫度(du),在(zai)-200℃的低(di)溫下仍(reng)有(you)足(zu)夠高(gao)的沖擊性能(neng),但當(dang)氮含(han)量達到0.84%時,其韌脆轉變溫度(du)較高(gao),-200℃的沖擊韌性已顯得(de)過低(di)。


  在一些酸性介質中,氮提高奧氏體不銹鋼耐一般腐蝕性能。適量的氮還提高奧氏體不銹鋼敏化態的耐晶間腐蝕性能,這是由于氮作為活性元素優先沿晶界聚集,氮降低碳原子和鉻原子的擴散能力,從而抑制M23C6型碳化物的析出和延緩σ相、x相的形成。圖9.69為氮對17Cr-13Ni-4,5Mo鋼中M23C6型碳化物析出行為的影響。適量的氮還可以顯著改善敏化狀態的耐晶間應力腐(fu)蝕開裂


69.jpg


 氮還提高鉻鎳鉬奧氏(shi)體(ti)不銹鋼耐稀硝酸腐蝕的性(xing)能。


 在(zai)(zai)氯化(hua)物環(huan)境中,氮(dan)顯著提(ti)高奧(ao)氏體不銹(xiu)鋼耐(nai)(nai)點(dian)蝕(shi)和(he)縫隙(xi)腐蝕(shi)的(de)(de)性能(neng)。研究表明,氮(dan)僅是強化(hua)鉻、鉬(mu)元素在(zai)(zai)奧(ao)氏體中的(de)(de)耐(nai)(nai)蝕(shi)作用(yong),鉻、鉬(mu)的(de)(de)存(cun)在(zai)(zai)是氮(dan)改善奧(ao)氏體不銹(xiu)鋼耐(nai)(nai)蝕(shi)作用(yong)的(de)(de)前提(ti)。氮(dan)耐(nai)(nai)點(dian)蝕(shi)和(he)耐(nai)(nai)縫隙(xi)腐蝕(shi)的(de)(de)能(neng)力(li)約相當于鉻的(de)(de)30倍。


 氮提高不銹鋼耐點蝕和耐縫隙腐蝕的機理尚有不同的觀點:氮在表面膜中富集,同時使表面膜中富鉻,從而提高鋼的鈍化能力和鈍態穩定性;氮與閉塞區的溶液反應形成NH-4,消耗H-,使初始蝕坑內pH升高,氮亦可產生NO-3,均有利于鋼的鈍化。


 鉻鎳奧氏體不銹鋼(gang)中的(de)(de)氮含(han)量在0.12%~0.15%時,鋼(gang)的(de)(de)熱(re)、冷加工(gong)性(xing)及(ji)冷成形性(xing)等將有所下(xia)降。熱(re)加工(gong)性(xing)能的(de)(de)降低是由于鋼(gang)中氮化(hua)物和碳氮化(hua)物的(de)(de)析出影響了鋼(gang)的(de)(de)熱(re)塑性(xing),而氮的(de)(de)固溶強化(hua)又減緩鋼(gang)的(de)(de)回復過程(cheng)。冷加工(gong)性(xing)和冷成形性(xing)的(de)(de)降低主要(yao)是氮固溶強化(hua)所致。